Podrobný popis
Funkčné armatúry - spätné ventily 3/8"
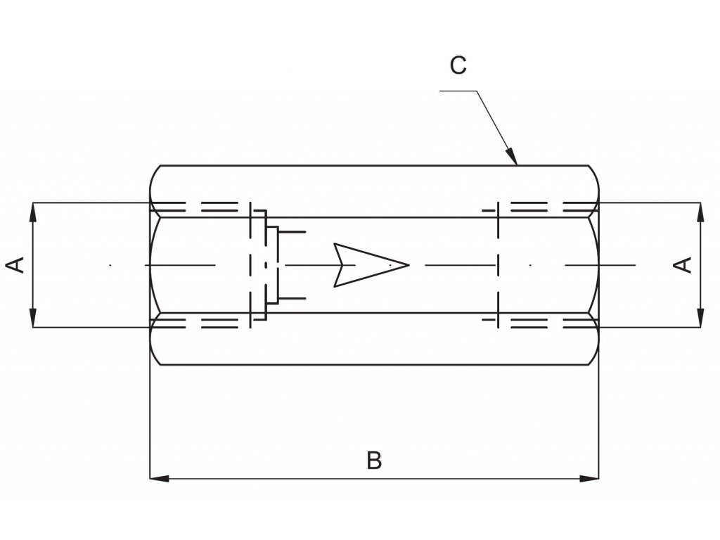
- spätné ventily: určené na prúdenie vzduchu len jedným smerom
- mosadzné prevedenie, tlak 10 barov, rúrkové prevedenie vnútorné závity
Spätné ventily FF
|
| Obj.č. |
Závity |
Dĺžka |
SW |
| FF-M5 |
M5 |
25 |
8 |
| FF-18 |
G1/8" |
34 |
13 |
| FF-14 |
G1/4" |
39 |
16 |
| FF-38 |
G3/8" |
50 |
21 |
| FF-12 |
G1/2" |
60 |
25 |
Buďte prvý, kto napíše príspevok k tejto položke.
Buďte prvý, kto napíše príspevok k tejto položke.
| Rozsiahle skúsenosti dopĺňa široký sortiment výrobkovJedným z tradičných dodávateľov pneumatických komponentov je spoločnosť API (Advanced Pneumatic Industries), ktorá bola založená koncom 80. rokov minulého storočia neďaleko Milána v Taliansku. Viac ako tri desaťročia skúseností poslúžili spoločnosti API na zlepšenie výroby všetkých pneumatických komponentov. Na prelome nového tisícročia spoločnosť výrazne investovala do vlastného vývoja a začala s vlastnou výrobou ventilov a valcov. Od roku 2007 obsahuje katalóg API najširší možný sortiment vo svojej oblasti a výrobky čoskoro putujú po celom svete. Dnes spoločnosť ponúka výrobu a montáž ventilov, valcov a montážneho príslušenstva nielen z hliníka a ocele, ale aj z nehrdzavejúcej ocele. Okrem štandardnej ponuky ponúka API aj možnosť dodávok riešení, ako sú napríklad zostavy ventilových svoriek alebo špeciálne vyhotovenia ATEX. |
 |
 |
Certifikát kvality za dobrú cenu
Zákazník sa môže spoľahnúť na celý sortiment talianskej spoločnosti. Ide o produkty s dobrými technickými vlastnosťami, pričom ich cena je stále v rozumných medziach. Tieto slová potvrdzujú stovky našich spokojných zákazníkov (najmä z priemyslu), pre ktorých je API preferovanou značkou. Okrem slov však spoľahlivosť výrobkov dokazujú aj dôkladné systémy kvality, ako sú ISO 9001, CISQ, ICIM alebo IQNet, ktorých certifikátmi sa výrobky pýšia. Ponuka v súčasnosti zahŕňa pneumatické valce, chápadlá, kyvné pohony, príslušenstvo valcov a montážne konzoly, elektromagnetické, pneumatické, mechanické a manuálne ventily, zariadenia na úpravu vzduchu, armatúry, spojky a hadice.
|